Je zit rustig naar een film te kijken, maar heel de tijd worstel je met het gevoel dat er iets mis is. En plots merk je het: je hoort de woorden van de acteur voor je zijn lippen ziet bewegen. Buitengewoon vervelend, maar wat doe je eraan?
Problemen met de synchronisatie van beeld en geluid doen ons automatisch denken aan films met een gedubde geluidsband. Niets is vreemder dan de lippen van Brad Pitt te zien bewegen terwijl hij ‘zogezegd’ Frans spreekt.
Omdat er klankmatig niet voldoende overeenkomsten zijn tussen de Franse en Engelse dialogen, komt het resultaat allesbehalve realistisch over.
Helaas beperkt het probleem zich niet tot gedubde geluidsbanden. Ook een eenvoudige vertraging tussen videobeelden en de bijbehorende audiotrack (in de originele taal) kan voor een bijzonder irritant effect zorgen.
,
Synchronisatiefouten kunnen op verschillende plaatsen in de signaalketen optreden. De CCD-sensor in een filmcamera kan een vertraging van het beeld introduceren. En datzelfde geldt voor de signaalbewerkingen die productiestudio’s na het filmen uitvoeren.
Bovendien zijn dergelijke vertragingen niet uniform. Omdat de ene videobewerking soms een frame van de videostroom weggooit en een andere juist frames herhaalt, kan de resulterende vertraging variëren in de tijd. De synchronisatie van beeld en geluid bewaren, is dan ook een behoorlijk complexe opdracht in een productieomgeving.
Bij dvd- of Blu-ray-schijven zou het probleem onbestaande moeten zijn, aangezien men voldoende tijd heeft om het resultaat te verifiëren. Toch is het niet uitgesloten dat ook daar vertragingen optreden.
Op dergelijke problemen heb je als eindgebruiker natuurlijk weinig grip. Je kan enkel hopen dat productiehuizen hun werk goed doen en een correct gesynchroniseerd beeld een geluid aanleveren.
Is dat niet het geval en zit er toch een vertraging op het beeld, dan kan je enkele oplossing gebruiken om beeld en geluid weer in de pas te zetten. Daar komen we verderop in dit stuk op terug.
IN DE HUISKAMER
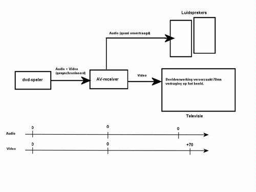
Ook in onze thuisbioscoop kan er soms een synchronisatieprobleem ontstaan. Onze gloednieuwe flatscreens voeren dikwijls heel wat bewerkingen uit op het videosignaal, zoals de-interlacing, ruisonderdrukking en het creëren van extra beelden voor 100Hz- of 200Hz-technieken. Die bewerkingen kunnen voor een aanzienlijke vertraging van het beeldsignaal zorgen die soms oploopt tot 200ms.
Gelukkig houden de televisies daar intern rekening mee en passen ze dezelfde vertraging toe op het audiosignaal. Je zal die vertraging dan ook nooit opmerken als je de luidsprekers van de televisie gebruikt. De vertraging wordt echter wel duidelijk voor wie een av-receiver gebruikt.

De bron, bijvoorbeeld een dvd-speler, wordt aangesloten op de av-receiver. Die behandelt het geluid quasi zonder vertraging, en stuurt het beeld door naar de televisie. De televisie bewerkt de beelden echter nog eens, en toont ze daardoor wel met een zekere vertraging. Hoeveel vertraging hangt van de televisie af, maar het kan duidelijk zichtbaar zijn.
Jammer genoeg is er geen vast getal te plakken op die vertraging; ze is afhankelijk van het merk én model, en in sommige gevallen zelfs van welke beeldbewerkingen er ingeschakeld zijn. Op de website van Philips vinden we bijvoorbeeld terug dat onze oude 42PFL9703 ongeveer 200ms vertraging introduceert op het beeld. ‘HD Natural Motion’ uitschakelen zou die vertraging wegwerken bij dit toestel.
Helaas is het erg moeilijk om informatie terug te vinden, en de meeste fabrikanten leveren zelden exacte gegevens. Bij navraag kregen we als antwoord meestal te horen dat een vertraging van 50 tot 100ms mogelijk is.
,
Om dit soort problemen te counteren, zijn meerdere oplossingen mogelijk. We vermelden daar alvast bij dat heel veel afhankelijk is van jouw specifieke apparatuur, en dat sommige scenario’s een bijkomende investering vragen.
Bij onze voorbeelden gaan we uit van een opstelling met een Blu-ray-speler, av-receiver en televisie, en overlopen we alle mogelijkheden.
OPLOSSING 1: VIDEOBEWERKINGEN UITSCHAKELEN
Het mag een nogal vreemde suggestie lijken, maar dit kan een eenvoudige oplossing voor het probleem zijn. Schakel zoveel mogelijk videobewerkingen uit: Ruisonderdrukking en 100Hz-technieken zijn de belangrijkste oorzaken van audiovertragingen.
Philips geeft zelf op zijn website aan dat ‘HD Natural Motion’ uitschakelen de synchronisatieproblemen verhelpt. Bij Samsung wist men ons echter te vertellen dat de geïntroduceerde vertraging onafhankelijk is van de gekozen bewerkingen.
Met andere woorden: er is geen garantie dat deze oplossing werkt voor jouw tv-toestel, maar ze is eenvoudig en gratis uit te proberen.
Vrees je dat dit de beeldkwaliteit nadelig zal beïnvloeden? Dat is mogelijk: per slot van rekening schakel je allerlei beeldverbeterende eigenschappen uit, en misschien heb je het toestel specifiek voor die eigenschappen gekocht.
Merk je dat je teveel moet inleveren op het vlak van beeldkwaliteit, schakel dan alle videobewerkingen weer aan en probeer een van de volgende oplossingen uit.
OPLOSSING 2: AUDIO-DELAY ACTIVEREN OP DE AV-RECEIVER
Het synchronisatieprobleem ontstaat deels omdat de av-receiver zich niet bewust is van de vertraging die de televisie in de beeldstroom introduceert. Gelukkig zijn er heel wat av-receivers en home theater in-a-box-sets waarmee je het geluid kan vertragen.
Het volstaat om wat te experimenteren met die vertragingsfunctie tot de audio weer naadloos aansluit bij het beeld; een degelijke kalibratie dvd kan daarbij helpen.
Digital Video Essentials heeft bijvoorbeeld een testpatroon dat specifiek voor audiosynchronisatie bestemd is. De Onkyo TXSR606 die we in onze testruimte gebruikten voor dit artikel is een voorbeeld van een av-receiver die het geluid kan vertragen. Maar hij toont ook de beperkingen van deze oplossing.
Bij heel wat av-receivers kan je maar een gelimiteerde vertraging instellen. In het geval van onze Onkyo is dat maximum 100ms. Is de beeldvertraging van je scherm groter, dan merk je mogelijk nog steeds een discrepantie tussen beeld en geluid, al zal die natuurlijk al een behoorlijk stuk kleiner zijn dan tevoren.
Misschien zou je dit alles liever automatisch zien gebeuren? Dat kan met een moderne av-receiver en vrij recente tv; vanaf de HDMI 1.3-specificatie bevat die immers een lip-sync feature.

,
Wanneer zo’n televisietoestel en een av-receiver met een HDMI-verbinding op elkaar worden aangesloten, speelt het scherm een hele hoop informatie door aan de av-receiver, onder andere welke resoluties het ondersteunt.
Sinds HDMI 1.3 kan het scherm tijdens die uitwisseling ook de videolatentie rapporteren. De av-receiver kan die informatie gebruiken om automatisch de juiste vertraging voor het geluid in te stellen. Het proces dat we eerder beschreven in het schema gebeurt dan volledig automatisch.
Het is echter niet evident dat die functie ook echt werkt in de praktijk. In de eerste plaats moet zowel het scherm als de av-receiver over HDMI 1.3-aansluitingen beschikken. Is je av-receiver iets ouder en heeft hij nog geen HDMI 1.3-aansluitingen aan boord, dan val je dus uit de boot.
Maar ook al zijn beide toestellen voorzien van HDMI 1.3-aansluitingen, dan is het nog niet zeker dat alles volgens plan verloopt. De lip-sync-feature in de HDMI 1.3-specificaties is namelijk optioneel. Een fabrikant kan dus zelf beslissen of hij die feature al dan niet implementeert bij een toestel.
Als consument heb je dus niet genoeg aan de wetenschap dat je televisie en av-receiver beide over een HDMI 1.3-verbinding (of beter) beschikken; je moet ook de specificatielijst doornemen om te verifiëren of de lip-sync-functie aanwezig is.
Dat is absoluut geen ideale situatie, vooral omdat fabrikanten van televisietoestellen zelden duidelijk aangeven welke features al dan niet ondersteund worden door de HDMI-aansluitingen van een tv-toestel.
OPLOSSING 3: AUDIO-DELAY ACTIVEREN IN DE SPELER
In sommige gevallen kan je de audiotrack ook op de speler zelf vertragen, zowel bij dvd- als Blu-ray-spelers (zie schema hieronder). Een voorbeeld van een toestel met die functie is Sony’s BDP-S350 Blu-ray-speler in onze testopstelling. Die introduceert desgewenst een audio-delay tot 120ms.
In de meeste opstellingen met een av-receiver zullen er echter meerdere bronnen aangesloten worden. Denk maar aan een HDTV-settopbox of spelconsole. Die zijn met deze oplossing natuurlijk niet verlost van het synchronisatieprobleem, tenzij ze ook een eigen instelling bieden voor audio-delay.

,
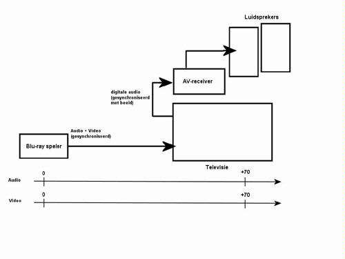
OPLOSSING 4: GESYNCHRONISEERDE AUDIO-UITGANG GEBRUIKEN
Heel wat televisies hebben tegenwoordig een digitale audio-uitgang, in de vorm van een coaxiale of optische audio-aansluiting. Deze uitgang is gesynchroniseerd met het televisiebeeld, en lijkt dus een handige oplossing voor ons probleem.
Toch duiken ook hier weer heel wat beperkingen op, die bovendien verschillen van fabrikant tot fabrikant en zelfs van model tot model.
Tot overmaat van ramp worden de mogelijkheden van zo’n digitale uitgang zelden of nooit duidelijk weergegeven in de handleiding, en zelfs wanneer we navraag doen bij de fabrikanten blijkt het een erg moeilijk te beantwoorden vraag. Je zal dus zelf wat moeten experimenteren om na te gaan of deze oplossing voor jou een mogelijkheid is.
Wil je het zelf uitproberen, dan gebruik je best een andere opstelling als bij de vorige scenario’s. Alle bronnen worden dit keer rechtstreeks op de televisie aangesloten, en de digitale audio-uitgang van de tv wordt met de av-receiver verbonden.

Omdat de digitale audio-uitgang gesynchroniseerd loopt met het beeld en de av-receiver nauwelijks vertraging introduceert bij het verwerken van het geluid, zijn beeld en geluid nu meteen voor alle bronnen gesynchroniseerd.
Op het eerste gezicht een ideale oplossing. De vraag is echter welke geluidsformaten door de digitale uitgang ondersteund worden. In het ergste geval geeft die audiouitgang enkel het geluid weer van de ingebouwde digitale televisietuner. Gebruik je een andere bron, zoals de Blu-ray-speler die op de televisie is aangesloten, dan hoor je helemaal niets. In zo’n geval is deze oplossing natuurlijk nutteloos.
Het tweede – en meest waarschijnlijke – scenario is dat deze audio-uitgang enkel stereogeluid verstuurt. Geen probleem als je av-receiver een 2.1-luidsprekeropstelling gebruikt, maar wel als de av-receiver een 5.1-luidsprekerset aanstuurt.
In dat geval kan je het surround-geluid van de Blu-ray-schijf of dvd immers niet beluisteren. De av-receiver kan op basis van de stereostroom die hij ontvangt wel een pseudo-surround-effect creëren, maar dat is slechts een vage benadering van bijvoorbeeld de originele DTS HD Master Audio-track op de schijf.
In het beste geval geeft de digitale uitgang van het tv-toestel een Dolby Digital- of DTS-signaal door. De originele bitstromen van de nieuwere codecs kunnen nooit langs deze aansluitingen verstuurd worden.
,
OPLOSSING 5: GESPECIALISEERDE AUDIO-DELAY BOX
Brengt geen van de voorgaande oplossingen soelaas, dan rest er nog één optie: je toevlucht nemen tot gespecialiseerde apparatuur. Sommige fabrikanten maken specifieke audio-delay-toestellen. Daarmee kan je de audiotrack tot 600ms vertragen.
Anderzijds kan je op dergelijke delay-boxen enkel optische of coaxiale digitale signalen aansluiten, geen HDMI. Wie surround-geluid wil horen, is dus aangewezen op Dolby Digital of DTS (één van beide is steeds beschikbaar op Blu-ray-schijven).
Het aansluiten van zo’n box is eenvoudig. Je sluit alle bronnen met een coaxiale of optische kabel aan op de audio-delaybox, de uitgang van de box gaat naar de av-receiver. Beeld breng je rechtstreeks van de bron naar de av-receiver, bijvoorbeeld langs HDMI.








